91看片下载免费观看,91看片儿免费看,91看片网站下载,91看片视频免费

歡迎光臨金湖91看片下载免费观看儀表有限公司!本公司主營:渦輪流量計,電磁流量計,渦街流量計,孔板流量計,金屬管浮子流量計,磁翻板液位計等儀器儀表,聯係熱線:15195518515

金湖91看片下载免费观看儀表有限公司LOGO

金湖91看片下载免费观看儀表有限公司

品質保證,服務周到,儀器儀表供應商

--24小時服務熱線--15195518515
當前位置:*頁>>產品中心>>91看片视频免费>>循環水流量表
循環水流量表

循環水流量表

  • 品*:JKM/91看片下载免费观看儀表
  • 型號:JKM-LDE
  • 測量範圍:0.028~205258m³/h
  • 精度等級:0.5級、1.0級
  • 公稱通徑:DN10~DN2200
  • 適用介質:汙水、導電液體
  • 工作壓力:1.6~6.3MPa
  • 工作溫度:-20~+200℃
  • 供電方式:220V 24V 鋰電池
  • 訂貨號:CFSFSLMYD501

循環水流量表產品概述
電磁流量計由傳感器和轉換器兩部分構成。它是基於法拉*電磁感應定律工作的,用來測量電導率大於5μS/cm導電液體的體積流量,是一種測量導電介質體積流量的感應式儀表。除可測量一般導電液體的體積流量外,還可用於測量強酸強堿等強腐蝕液體和泥漿、礦漿、紙漿等均勻的液固兩相懸浮液體的體積流量。由於電磁流量計的優點諸多,因此被廣泛應用於石油、化工、化纖、冶金、輕紡、造紙、製糖、給排水、環保、食品等工業部門及市政管理,水利建設、河流疏浚等領域的流量計量。
循環水流量表產品圖

 
循環水流量表的測量原理
電磁流量計的工作原理是基於法拉*電磁感應定律。測量管內的導電介質相當於法拉*試驗中的導電金屬杆,上下兩端的兩個電磁線圈產生恒定磁場。當有導電介質流過時,則會產生感應電壓。管道內部的兩個電*測量產生的感應電壓。測量管道通過不導電的內襯(橡膠,特氟隆等)實現與流體和測量電*的電磁隔離,如圖所示。
循環水流量表工作原理圖

 
循環水流量表產品特點
1、傳感器結構簡單,測量管內沒有可動部件,也沒有任何阻礙流體流動的節流部件。所以當流體通過流量計時不會引起任何附加的壓力損失,是流量計中運行能耗*低的流量儀表之一。
2、可測量髒汙介質、腐蝕性介質及懸濁性液固相流的流量。這是由於儀表測量管內部無阻礙流動部件,與被測流體接觸的隻是測量管內襯和電*,其材料可根據被測流體的性質來選擇。例如,用聚氟乙烯或四氟乙烯做內襯,可測量各種酸、堿、鹽等腐蝕性介質;采用耐磨橡膠做內襯,就特別適合於測量帶有固體顆粒的、磨損較大的礦漿、水泥漿等液固兩相流以及各種帶纖維液體和紙漿等懸濁液體。
3、電磁流量計是一種體積流量測量儀表,在測量過程中,它不受被測介質的溫度、粘度、密度以及電導率(在一定範圍)的影響。因此隻需經水標定後,就可以用來測量其它導電性液體的流量。
4、輸出隻與被測介質的平均流速成正比,而與對稱分布下的流動狀態(層流或湍流)無關。所以流量計的量程範圍*寬,其測量範圍度可達100:1,有的甚至達1000:1的可運行流量範圍。
5、無機械慣性,反應靈敏,可以測量瞬時脈動流量,也可測量正反兩個方向的流量。
6、工業用電磁流量計的口徑範圍*寬,從幾個毫米一直到幾米,而且國內已有口徑達3m的實流校驗設備,為流量計的應用和發展奠定了基礎。
循環水流量表傳感器分類圖


循環水流量表執行標準及技術參數

1 產品執行標準

產品性能符合電磁流量計行業標準 JB/T9248-2008 及 JJG1033-2007 要求。

2 主要技術指標

循環水流量表技術指標對照表


循環水流量表儀表選型

儀表的選型是儀表應用中非常重要的工作,據有關資料統計,儀表在實際應用中有 2/3 的故障是儀表的錯誤選型和錯誤安裝造成的,請特別注意。具體注意事項如下:

1.被測流體名稱和其化學性能。 

2.*大流量、*小流量和常用流量。推薦:常用流量應選擇在 1~3m/s 流速段內,如果不符,請用戶調整所選儀表的口徑規格。

3.*高工作壓力。

4.*高工作溫度、*低工作溫度。

5.被測流體必須具備一定的導電性,導電率≥5μs/cm。

6.*大流量和*小流量必須符合表 2-1 的數據。

7.實際*高工作壓力必須小於流量計的額定工作壓力(見傳感器銘*)。

8.*高工作溫度和*低工作溫度必須符合流量計規定的溫度要求(見傳感器銘*)。

9.確定是否有負壓情況存在。

10.電*和襯裏材料的選擇應滿足流體介質的化學性能。

循環水流量表規格型號選型表


循環水流量表公稱通徑與流量範圍

循環水流量表口徑流量範圍表


循環水流量表襯裏的選擇
1、襯裏材料:聚四氟乙烯(F4)
主要性能:是化學性能*穩定的一種塑料,能耐沸騰的鹽酸、硫酸、硝酸和王水,也能耐濃堿和各種有機溶劑。不耐高溫高流速液氟、液氧、自氧的腐蝕。
*高介質溫度一體型:70℃
*高介質溫度分離型:100℃ 150℃ (需特殊訂貨)
適用範圍:1、濃酸、堿等強腐蝕性介質。 2、衛生類介質。
2、襯裏材料:聚全氟乙丙烯(F46)
主要性能:同F4,耐磨性、抗負壓能力高於F4。
*高介質溫度一體型:70℃
*高介質溫度分離型:100℃ 150℃ (需特殊訂貨)
適用範圍:除砂漿等強磨損性介質外的所有流體。與PTFE一樣,能用於飲料等有衛生要求的介質。
3、襯裏材料:聚氟合乙烯(Fs)
主要性能:適用溫度上限較聚四氟乙烯低,但成本也較低。
*高介質溫度一體型:70℃
*高介質溫度分離型:80℃
4、襯裏材料:聚氯丁橡膠
主要性能:1、有*好的彈性,高度的扯斷力,耐磨性能好。2、耐一般低濃度酸、堿、鹽介質的腐蝕,不耐氧化介質的腐蝕。
*高介質溫度一體型:70℃
*高介質溫度分離型:80℃ 120℃ (需特殊訂貨)
適用範圍:水、汙水、弱磨損性的泥漿礦漿。
5、襯裏材料:聚氨酯橡膠
主要性能:1、耐磨性能*強。2、耐腐蝕性能較差。
*高介質溫度一體型:70℃
*高介質溫度分離型:80℃
適用範圍:中性強磨損的礦漿、煤漿、泥漿。

循環水流量表電*的選擇
1、電*材料:不鏽鋼0Crl8Nil2M02Ti
耐蝕及耐磨性能:用於工業用水、生活用水、汙水等具有弱腐蝕性的介質,適用於石油、化工、鋼鐵等工業部門及,市政、環保等領域。
2、電*材料:哈氏合金B
耐蝕及耐磨性能:對沸點以下的一切濃度的鹽酸有良好的耐蝕性,也耐硫酸、磷酸、氫氟酸、有機酸等非氯化性酸、堿,非氧化性鹽液的腐蝕。
3、電*材料:哈氏合金C
耐蝕及耐磨性能:能耐非氧化性酸,如硝酸、混酸、或鉻酸與硫酸的混合介質的腐蝕,也耐氧化性鹽類如:Fe,Cu下或含其他氧化劑的腐蝕,如高於常溫的次氯酸鹽溶液、海水的腐蝕。
4、電*材料:鈦
耐蝕及耐磨性能:能耐海水、各種氯化物和次氯酸鹽、氧化性酸(包括發煙硫酸)、有機酸、堿的腐蝕。不耐較純的還原性酸(如硫酸、鹽酸)的腐蝕,但如酸中含有氧化劑(如硝酸、Fc++、Cu++)時,則腐蝕大為降低。
5、電*材料:鉭
耐蝕及耐磨性能:具有優良的耐蝕性和玻璃很相似。除了氫氟酸、發煙硫酸、堿外,幾乎能耐一切化學介質(包括沸點的鹽酸、硝酸和l 50℃以下的硫酸)的腐蝕。在堿中刁;耐蝕。
6、電*材料:鉑/鈦合金
耐蝕及耐磨性能:幾乎能耐一切化學介質,但不適用於王水和銨鹽。
7、電*材料:不鏽鋼塗覆碳化鎢
耐蝕及耐磨性能:用於無腐蝕性,強磨損性的介質。
注: 由於介質種類繁多,其腐蝕性又受溫度、濃度、流速等複雜因素影響而變化,故本表僅供參考。用戶應根據實際情況自己做出選擇,必要時應做擬選材料的耐腐試驗,如掛片試驗。

循環水流量表正確接線
①勵磁電纜可選用中型橡套電纜,其長度與信號電纜一樣
②信號電纜和其他動力電源電纜必須嚴格分開,不能敷設在同一根管子內,不能平行敷設,不能絞合在一起,應分別單獨穿在鋼管內。
③信號電纜和勵磁電纜盡可能短,不能將多餘的電纜卷在一起,應將多餘電纜剪掉,並重新焊接頭,電纜進入傳感器電氣接口時,在端口處做成U型,這樣可以防止雨水滲透到傳感器中。
④勵磁電纜和轉換器之間的連接用專用接線完成,轉換器和外部的連接同一體型流量計。
接線:
循環水流量表接線圖

循環水流量表正確選擇安裝位置

正確地選擇安裝位置和正確安裝流量計都是非常重要的環節,若在安裝環節失誤,輕者影響測量精度,重者會影響流量計的使用壽命,甚至會損壞流量計。選擇安裝位置時應注意以下問題:

1.測量電*的軸線必須近似於水平方向(與水平線夾角一般為 10°以內)

循環水流量表測量電*安裝方向圖

2.測量管道內必須完全充滿液體。

3.流量計的前方*少要有 5×D(D 為流量計內徑)長度的直管段,後方*少要有 2×D(D為流量計內徑)長度的直管段。

循環水流量表直管段安裝位置圖

4.流體的流動方向和流量計的箭頭方向一致。

5.管道內要有真空會損壞流量計的內襯,需特別注意。

6.在流量計附近應無強電磁場,儀表安裝場所的磁場強度應小於 400A/m(避免安裝在大型電機或變壓器等設備附近)。

7.若測量管道有振動,在流量計的兩邊應有固定的支座。

8.測量不同介質的混合液時,混合點與流量計之間的距離*少要有 30×D(D 為流量計內徑)。

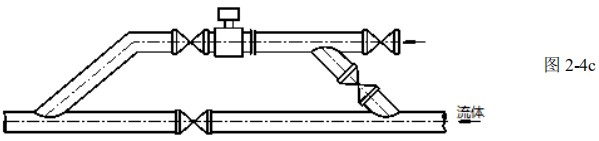
9.為方便今後流量計的清洗和維護,應安裝旁通管道。

循環水流量表旁通管道安裝圖

10.安裝聚四氟乙烯內襯的流量計時,連接兩法蘭的螺栓應注意均勻擰緊,否則容易壓壞聚四氟乙烯內襯,*好用力矩扳手。

11.儀表應避免強烈振動和過大的溫度變化,同時要防止腐蝕性液體的滴漏對儀表造成損害。

12.如果安裝地點易受陽光曝曬,應當增加遮蔽設施。

13.安裝傳感器時,應保證測量管與工藝管道同軸。對 50mm 及以下公稱通徑的傳感器,其軸線偏離不超過 2mm。DN65~DN150 其軸線偏離不超過 3mm,≥DN200 其軸線偏離不超過 4mm。

14.法蘭之間加裝的法蘭墊圈,應有良好的耐腐蝕性能,該墊圈不得伸入管道內部。

15.緊固儀表螺栓、螺母,其螺紋應完整無損,潤滑良好。應依據法蘭尺寸、力矩大小采用力矩扳手緊固螺栓。

16.在傳感器鄰近管道進行焊接或火焰切割時,要采用隔離措施,防止襯裏受熱,且必須確認儀表未通電運行,防止損壞儀表。


循環水流量表安裝方式

應安裝在水平管道較低處和垂直向上處,避免安裝在管道的*高點和垂直向下處。

循環水流量表安裝方式圖一

應安裝在管道的上升處。

循環水流量表安裝方式圖二

在開口排放的管道安裝,應安裝在管道較低處。若管道落差超過 5m,在傳感器的下遊安裝排氣閥且傳感器的下遊應有一定的背壓。

循環水流量表安裝方式圖三

應在傳感器的下遊安裝控製閥和切斷閥,而不應安裝在傳感器上遊。

循環水流量表安裝方式圖四

傳感器絕對不能安裝在泵的進口處,應安裝在泵的出口處。

循環水流量表安裝方式圖五

在測量井內安裝流量計的方式:1.入口 2.溢流管 3. 清洗孔 4.入口柵 5. 短管 6.流量計 7.出口 8.排放閥

循環水流量表井內安裝方式圖

網站地圖