產品目錄
91看片儿免费看
液體流量計
91看片视频免费
油流量計
91看片网站下载
橢圓齒輪流量計
電磁流量計
渦街流量計
蒸汽流量計
孔板流量計
旋進旋渦流量計
熱式氣體質量流量計
轉子流量計
浮子流量計
靶式流量計
氣體流量計
超聲波流量計
磁翻板液位計
浮子液位計
浮球液位計
玻璃管液位計
雷達液位計
超聲波液位計
投入式液位計
壓力變送器
差壓變送器
液位變送器
溫度變送器
熱電偶
熱電阻
雙金屬溫度計
推薦產品
聯係91看片下载免费观看
- 金湖91看片下载免费观看儀表有限公司
- 聯係電話:15195518515
- 在線客服:1464856260
- 電話:0517-86801009
- 傳真號碼:0517-86801007
- 郵箱:1464856260@qq.com
- 網址:http://www.zhongtaijixie.net
- 地址:江蘇省金湖縣理士大道61號
智能甲醇燃料流量計的硬件與程序設計
發布時間:2020-08-31 06:49:14 點擊次數:1938次
摘要:甲醇燃料流量計廣泛應用於流量測量領域,本文針對甲醇燃料流量計的特點設計了一種基於DSP智能甲醇燃料流量計,它能夠實時采集脈衝信號,並顯示在液晶顯示屏上,同時還能通過RS485通信將數據遠傳至上位機。智能甲醇燃料流量計內置儀表係數修正算法,能夠消除流變化導致儀表係數變化而產生的誤差。
甲醇燃料流量計廣泛用於流量測量領域,具有安裝簡便、精度較高、能夠直接進行脈衝輸出等特點,目前廣泛應用於工業及民用的流量計量等裝置中。由於甲醇燃料流量計能夠直接輸出脈衝,且甲醇燃料流量計的儀表係數會隨流速的變化而變化,易於使智能儀表對其脈衝流量信號進行現場處理,如果智能儀表不能實時對儀表係數進行修正,則需要對甲醇燃料流量計進行標定,否則將產生較大測量誤差。
1甲醇燃料流量計功能概況
甲醇燃料流量計屬於速度式流量測量計,其工作原理是在流體管道內安裝渦輪,利用流體流動時產生的推力使渦輪葉片轉動,渦輪的轉速和流體的流速將成正比例關係,同時,安裝在計量儀表殼體的電磁感應接收器實時接收由葉輪轉動引起的磁場變化而產生的脈衝,智能儀表收集到脈衝之後進行濾波放大,即可通過簡單的比例關係計算出管道的實時流量。甲醇燃料流量計其內部機械機構見圖1。
智能儀表以DSP為處理器,它采集到渦輪流量傳感器傳送的脈衝信號後通過濾波放大後在處理器內進行運算,並將運算結果顯示在液晶屏上,同時還能夠通過RS485通信向上位機遠傳流量信息。圖2為渦輪流量智能儀表的內部功能模塊結構圖。


2智能甲醇燃料流量計的硬件設計
2.1渦輪脈衝輸入調理電路
由於渦輪流量傳感器產生的電脈衝信號有一定的噪聲信號,並且電壓隻有幾十毫伏,所以在將信號輸入到DSP處理器之前進行濾波、整形和放大。*82頁圖3為渦輪脈衝輸入調理電路。
2.2液晶顯示
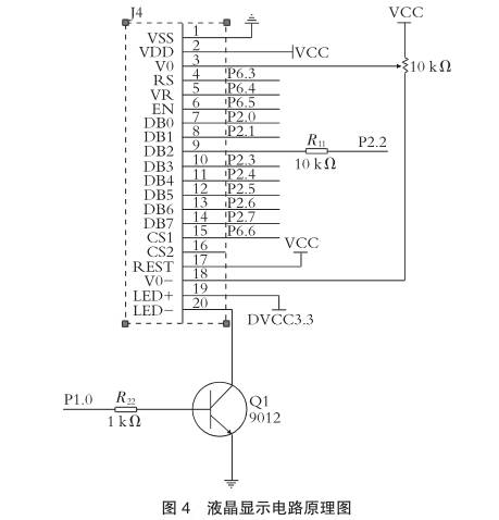
液晶選擇12864點陣式液晶,它能夠動態顯示各種圖形、漢字以及各種符號信息,為各種電子產品提供了友好的人機界麵,點陣式圖形液晶顯示屏具有工作電壓低、功耗低、可視麵積大、體積小、無電磁幹擾、數字接口、使用壽命長等特點。圖4為液晶顯示電路原理圖。


2.3RS485通信
RS485接口組成半雙工網絡,選擇兩線製與上位機電腦相連,采用屏蔽雙絞線傳輸。通信係統整體為總線式結構,這樣1台上位機*多可以和現場32台智能儀表相連。采用MAX485芯片完成電壓轉換,圖5為RS485通信電路原理圖。

2.4DSP微處理器
TMS320F28335具有150MHz高速處理能力,具備32位浮點處理單元,6個直接內存存取通道,支持EMIF,McBSP和ADC,配備總計18路PWM波輸出端口,其中有6路為專用超高精度的PWM輸出,12位16通道模擬數字轉換單元。由於TMS320F28335具備浮點運算單元,用戶可快速編寫控製算法而無需在處理小數操作上耗費過多時間和精力,與其他DSP相比,整體性能提高了一倍,並與定點C28x控製器軟件兼容,從而簡化了軟件開發,縮短了開發周期,降低了開發成本。
3智能甲醇燃料流量計的程序設計
3.1微處理器功能程序設計
上電後程序對DSP的硬件資源進行初始化,包括中斷係統、GPIO口、定時器/計數器、通信端口及基本的時鍾設置。程序每秒對接收到的脈衝進行計數,其除以儀表係數後的結果作為瞬時流量,同時在時間上對瞬時流量進行累積,計算出兩種流量後,將其實時顯示在液晶顯示屏上,同時將數據保存,**等待上位機電腦對數據的讀取。通信采用MODBUS協議,波特率為9600b/s,無校驗,8位數據位,1位停止位。圖6為微處理器功能設計流程圖。

3.2流速修正算法
甲醇燃料流量計中流速對儀表係數有著很大的影響,這部分誤差會*大影響*終計量的精確度,傳統的做法是當流速發生較大的持續變化時,需對甲醇燃料流量計進行重新標定。針對這個問題,在不同流速下,測量了甲醇燃料流量計的儀表係數(見表1)。

繼續增大流量,儀表係數基本保持不變,故對0.4~1L/s內的數據進行參數擬合,得到擬合函數
Y=5+52.16X+16.9X2-116.22X3+83.34X4.(1)
其中自變量為流量,因變量為儀表係數。當流量介於0.4~1L/s時,采用式(1)進行計算;當流量超過1.1L/s時,保持儀表係數恒為69.9。
4結論
筆者設計一種基於DSP的智能甲醇燃料流量計,它能夠將渦輪流量傳感器的脈衝信號經過調理電路輸入到微處理器中,並在現場實時顯示經過係統修正的瞬時流量和累積流量,同時還可以將數據遠傳至上位機。此智能甲醇燃料流量計功能強大,測量精度高,有廣闊的應用前景。
甲醇燃料流量計廣泛用於流量測量領域,具有安裝簡便、精度較高、能夠直接進行脈衝輸出等特點,目前廣泛應用於工業及民用的流量計量等裝置中。由於甲醇燃料流量計能夠直接輸出脈衝,且甲醇燃料流量計的儀表係數會隨流速的變化而變化,易於使智能儀表對其脈衝流量信號進行現場處理,如果智能儀表不能實時對儀表係數進行修正,則需要對甲醇燃料流量計進行標定,否則將產生較大測量誤差。
1甲醇燃料流量計功能概況
甲醇燃料流量計屬於速度式流量測量計,其工作原理是在流體管道內安裝渦輪,利用流體流動時產生的推力使渦輪葉片轉動,渦輪的轉速和流體的流速將成正比例關係,同時,安裝在計量儀表殼體的電磁感應接收器實時接收由葉輪轉動引起的磁場變化而產生的脈衝,智能儀表收集到脈衝之後進行濾波放大,即可通過簡單的比例關係計算出管道的實時流量。甲醇燃料流量計其內部機械機構見圖1。
智能儀表以DSP為處理器,它采集到渦輪流量傳感器傳送的脈衝信號後通過濾波放大後在處理器內進行運算,並將運算結果顯示在液晶屏上,同時還能夠通過RS485通信向上位機遠傳流量信息。圖2為渦輪流量智能儀表的內部功能模塊結構圖。


2智能甲醇燃料流量計的硬件設計
2.1渦輪脈衝輸入調理電路
由於渦輪流量傳感器產生的電脈衝信號有一定的噪聲信號,並且電壓隻有幾十毫伏,所以在將信號輸入到DSP處理器之前進行濾波、整形和放大。*82頁圖3為渦輪脈衝輸入調理電路。
2.2液晶顯示
液晶選擇12864點陣式液晶,它能夠動態顯示各種圖形、漢字以及各種符號信息,為各種電子產品提供了友好的人機界麵,點陣式圖形液晶顯示屏具有工作電壓低、功耗低、可視麵積大、體積小、無電磁幹擾、數字接口、使用壽命長等特點。圖4為液晶顯示電路原理圖。


2.3RS485通信
RS485接口組成半雙工網絡,選擇兩線製與上位機電腦相連,采用屏蔽雙絞線傳輸。通信係統整體為總線式結構,這樣1台上位機*多可以和現場32台智能儀表相連。采用MAX485芯片完成電壓轉換,圖5為RS485通信電路原理圖。

2.4DSP微處理器
TMS320F28335具有150MHz高速處理能力,具備32位浮點處理單元,6個直接內存存取通道,支持EMIF,McBSP和ADC,配備總計18路PWM波輸出端口,其中有6路為專用超高精度的PWM輸出,12位16通道模擬數字轉換單元。由於TMS320F28335具備浮點運算單元,用戶可快速編寫控製算法而無需在處理小數操作上耗費過多時間和精力,與其他DSP相比,整體性能提高了一倍,並與定點C28x控製器軟件兼容,從而簡化了軟件開發,縮短了開發周期,降低了開發成本。
3智能甲醇燃料流量計的程序設計
3.1微處理器功能程序設計
上電後程序對DSP的硬件資源進行初始化,包括中斷係統、GPIO口、定時器/計數器、通信端口及基本的時鍾設置。程序每秒對接收到的脈衝進行計數,其除以儀表係數後的結果作為瞬時流量,同時在時間上對瞬時流量進行累積,計算出兩種流量後,將其實時顯示在液晶顯示屏上,同時將數據保存,**等待上位機電腦對數據的讀取。通信采用MODBUS協議,波特率為9600b/s,無校驗,8位數據位,1位停止位。圖6為微處理器功能設計流程圖。

3.2流速修正算法
甲醇燃料流量計中流速對儀表係數有著很大的影響,這部分誤差會*大影響*終計量的精確度,傳統的做法是當流速發生較大的持續變化時,需對甲醇燃料流量計進行重新標定。針對這個問題,在不同流速下,測量了甲醇燃料流量計的儀表係數(見表1)。

繼續增大流量,儀表係數基本保持不變,故對0.4~1L/s內的數據進行參數擬合,得到擬合函數
Y=5+52.16X+16.9X2-116.22X3+83.34X4.(1)
其中自變量為流量,因變量為儀表係數。當流量介於0.4~1L/s時,采用式(1)進行計算;當流量超過1.1L/s時,保持儀表係數恒為69.9。
4結論
筆者設計一種基於DSP的智能甲醇燃料流量計,它能夠將渦輪流量傳感器的脈衝信號經過調理電路輸入到微處理器中,並在現場實時顯示經過係統修正的瞬時流量和累積流量,同時還可以將數據遠傳至上位機。此智能甲醇燃料流量計功能強大,測量精度高,有廣闊的應用前景。
上一篇:油流量表,成品油流量計量器下一篇:成品油計量表
相關資訊
- 甲醇液體流量表的工作原理與實驗效果分析
- 甲醇流量計量表怎麽調整
- 甲醇流量計安裝規範
- 甲醇流量計使用說明
- 甲醇流量計原理
- 甲醇流量計清洗方法
- 甲醇流量計如何選型
- 甲醇流量計量表,甲醇流量用什麽流量計
- 甲醇流量表,甲醇一般用什麽流量計
- 甲醇流量表,測量甲醇流量計
- 甲醇介質流量計,測量甲醇用什麽流量計
- 甲醇專用流量計,甲醇流量計價格
- 甲醇流量表,測量甲醇常用流量計
- 甲醇流量計廠家,甲醇用什麽流量計
- 甲醇用流量計,甲醇流量計價格
- 甲醇流量計量表,甲醇流量表
- 甲醇渦輪流量計價格
- 甲醇一般用什麽流量計,甲醇燃料流量計
- 甲醇用流量計,甲醇專用流量計
- 甲醇流量用什麽流量計,甲醇渦輪流量計價格
- 甲醇燃料流量計,甲醇一般用什麽流量計
- 甲醇流量用什麽流量計,測量甲醇常用流量計
- 帶通訊甲醇流量計,甲醇用什麽流量計
- 甲醇介質流量計,甲醇渦輪流量計價格
- 甲醇用流量計,甲醇介質流量計
- 甲醇流量計量表,甲醇用什麽流量計
- 甲醇流量表,甲醇用流量計
- 甲醇流量表,甲醇用什麽流量計
- 測量甲醇流量計,甲醇流量計量表
- 甲醇渦輪流量計價格,甲醇一般用什麽流量計

