產品目錄
91看片儿免费看
液體流量計
91看片视频免费
油流量計
91看片网站下载
橢圓齒輪流量計
電磁流量計
渦街流量計
蒸汽流量計
孔板流量計
旋進旋渦流量計
熱式氣體質量流量計
轉子流量計
浮子流量計
靶式流量計
氣體流量計
超聲波流量計
磁翻板液位計
浮子液位計
浮球液位計
玻璃管液位計
雷達液位計
超聲波液位計
投入式液位計
壓力變送器
差壓變送器
液位變送器
溫度變送器
熱電偶
熱電阻
雙金屬溫度計
推薦產品
聯係91看片下载免费观看
- 金湖91看片下载免费观看儀表有限公司
- 聯係電話:15195518515
- 在線客服:1464856260
- 電話:0517-86801009
- 傳真號碼:0517-86801007
- 郵箱:1464856260@qq.com
- 網址:http://www.zhongtaijixie.net
- 地址:江蘇省金湖縣理士大道61號
浮球液位計減小盲區的方法
發布時間:2023-06-05 10:23:03 點擊次數:1723次
浮球液位計是一種利用磁耦合原理來檢測液位高度的儀表。作為一種連續量測量儀表,其具有結構簡單、工作可靠等優點,但實際應用中在測量盲區方麵也存在一定不足。
那麽,浮球液位計是如何構成的?
有沒有減小盲區的方法?
減小盲區又有什麽意義呢?
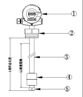
一、結構
眾所周知,浮球和導杆是浮球液位計的兩大關鍵部件。
其中,浮球內腔有強磁鐵,導杆管腔內有幹簧管。浮球套在導杆上能上下自由活動,導杆下端用鎖緊環鎖死。
當浮球隨液位上下運動時,內腔的強磁鐵能控製離它*近的導杆內的幹簧管動作,使得信號輸出,得出液位高度。

Float-11整體結構圖
①表頭②過程連接③導杆④浮球⑤鎖緊環
二、結論
了解結構之後,不難看出測量盲區的由來,即浮球以及鎖緊環的高度。
要想減小測量盲區,就要想辦法減小浮球以及鎖緊環的高度。
需要強調的是,無論怎麽減小,浮球液位計的結構決定了它不可能完全消除盲區。
盲區減小的優點在於使得在一定高度的容器內,浮球液位計能檢測更大範圍的液位變化。也就是說,它能在更靠近容器底部以及容器頂部檢測,從而使得測量範圍更大、更精確。

上一篇:電磁流量計的電*材質有哪些下一篇:浮球液位計材質分類有哪些

