產品目錄
91看片儿免费看
液體流量計
91看片视频免费
油流量計
91看片网站下载
橢圓齒輪流量計
電磁流量計
渦街流量計
蒸汽流量計
孔板流量計
旋進旋渦流量計
熱式氣體質量流量計
轉子流量計
浮子流量計
靶式流量計
氣體流量計
超聲波流量計
磁翻板液位計
浮子液位計
浮球液位計
玻璃管液位計
雷達液位計
超聲波液位計
投入式液位計
壓力變送器
差壓變送器
液位變送器
溫度變送器
熱電偶
熱電阻
雙金屬溫度計
推薦產品
聯係91看片下载免费观看
- 金湖91看片下载免费观看儀表有限公司
- 聯係電話:15195518515
- 在線客服:1464856260
- 電話:0517-86801009
- 傳真號碼:0517-86801007
- 郵箱:1464856260@qq.com
- 網址:http://www.zhongtaijixie.net
- 地址:江蘇省金湖縣理士大道61號
渦輪流量計安裝在什麽位置
發布時間:2022-05-27 08:59:43 點擊次數:3285次
渦輪流量計安裝條件及位置
1、環境要求
(1)傳感器安裝在室外時,應避陽光直射和防雨淋措施
(2)安裝前,管道需要吹掃
2、安裝位置要求
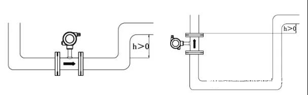
(1)管道必須完全充滿液體。重要的是,在任何時候,保持管道內完全充滿液體,否則流量顯示會受到影響,可能會導致測量誤差。

(2)避免氣泡。如果有氣泡進入測量管,流量顯示可能會受到影響,可能會導致測量誤差。

3、直管段要求
(1)一般情況
(2)90°彎頭

(3)同一平麵上兩個90°彎頭
(4)不同平麵上兩個90°彎頭

(5)縮管
(6)擴管

(7)全開閥門
(8)半開閥門

(9)若上遊側阻流件情況不明確,一般推薦上遊直管段長度不小於20D,下遊直管段長度不小於5D
(10)如安裝控件不能滿足上述要求,可在阻流件與傳感器之間裝整流器。
上一篇:渦輪流量計安裝條件與環境要求下一篇:91看片儿免费看設置方法
相關資訊
- 91看片网站下载安裝直管段要求
- 91看片网站下载的結構與工作原理
- 91看片网站下载的產品特點和適用範圍
- 91看片网站下载選型指南與外形尺寸
- 渦輪流量計的常見故障及排除
- 渦輪流量表怎麽調節
- 渦輪流量計安裝直管段要求
- 渦輪流量計的適用場合與量程範圍
- 渦輪流量計由什麽組成
- 渦輪流量計的工作原理
- 壓力對渦輪流量計精度的影響
- 91看片儿免费看使用常見問題
- 91看片儿免费看的使用場合
- 91看片儿免费看怎麽接電
- 渦輪流量計的使用範圍
- 渦輪流量計安裝條件與環境要求
- 渦輪流量計安裝在什麽位置
- 91看片儿免费看設置方法
- 91看片网站下载使用環境
- 91看片网站下载使用注意事項
- 91看片网站下载怎麽清洗
- 91看片网站下载適用範圍
- 91看片网站下载為什麽要加油
- 91看片网站下载波動大解決辦法
- 91看片网站下载安裝距離要求
- 91看片网站下载安裝注意事項
- 91看片网站下载應用範圍
- 91看片网站下载常見故障有哪些
- 提高91看片网站下载精度的方法
- 91看片网站下载精度等級

